玩游戏的时候最扫兴的事情莫过于发现自己的手柄没电。当低电量警告出现的时候,玩家要做的无非就是快去找备用手柄或者坚持用现在的手柄趁电量耗光之前把这关打完。就算有一支备用手柄,玩家也还是需要费劲去更换一下。不过,PS5主机似乎要把这个小麻烦解决掉。

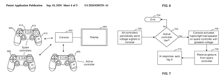
索尼提交了新的专利,关于“低电量交换”系统,这个功能很可能会被用在PS5的DualSense手柄上。当玩家看到低电量提示的时候,就会立刻收到一个选项,可以无缝切换到备用手柄。

当然这不是一项划时代的发明,但也为不愿意重新设置手柄的玩家提供了便利。最重要的是,希望在DualSense手柄上电量耗空的场景不会像DualShock 4那么频繁。有传言称PS5手柄相比PS4的续航要长3-4小时。索尼还将会在主机上市之后立刻开卖DualSense充电座,所以这个问题多少能够得到一些缓解。
PS5主机上市日期当前并未公布,9月17日凌晨我们或将知晓谜底。










