米哈游申请 “热血” 商标,疑似米社新游戏

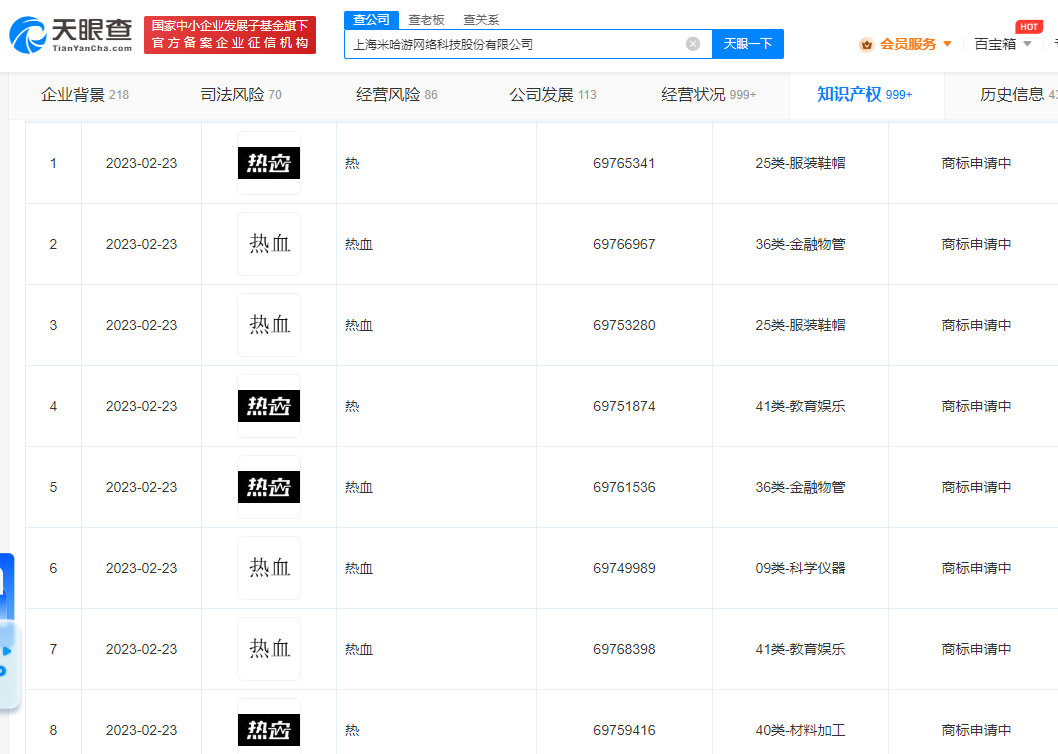
天眼查App近日显示上海米哈游网络科技股份有限公司申请注册多个“热血”“热”文字及图形新商标,国际分类涉及教育娱乐、服装鞋帽、金融物管等,当前商标状态均为申请中。

本次申请商标或为米哈游新作做准备,可能于《崩坏:星穹铁道》正式上线之后公布。

《崩坏:星穹铁道》将于2023年4月26日正式上线。


米哈游申请 “热血” 商标,疑似米社新游戏 米哈游申请 “热血” 商标,疑似米社新游戏

给TA打赏
共{{data.count}}人
人已打赏
游戏圈

FuRyu最新ARPG《恸哭奇机》片头曲公开,7月6日发售

2023-3-7 14:31:03

游戏圈

【英雄联盟】新英雄 “米利欧:明烛” 宣传片公布

2023-3-8 12:15:59

0 条回复 A文章作者 M管理员
    暂无讨论,说说你的看法吧