近日,一家名为今日油条的店铺火爆网络,从网友晒出的照片来看,今日油条摆出的菜单很像今日头条的界面,提供今日油条、今日豆花、今日豆浆、茶叶蛋等多种食物。

菜单右下角还有一个王思聪吃热狗的漫画,从长度来讲伪造下油条问题不大,不过这也涉及了侵犯王思聪的肖像权。
由于该店铺装修、logo与今日头条极度相似,今日油条还把今日头条的slogan“你关心的 才是头条”改成“关心你的,才是好油条”。就连菜单,也根据今日头条APP界面来进行设计。
这种种行为均涉嫌侵权,今日头条将该店铺背后公司告上法庭。
企查查APP显示,北京字节跳动科技有限公司已起诉到广州知识产权法院,案由为商标权权属、侵权纠纷,已于9月11日开庭。
被告方为河南今日油条餐饮管理有限公司、郑州市金水区今日油条早餐店、河南烧烤者食品有限公司。

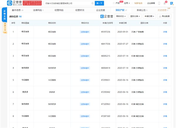
目前,今日油条公司已申请注册今日油条、今日豆浆、今日豆花、今日面条、明日油条、饼多多、快手抓饼等商标,状态为注册申请中。
不得不说,这家油条公司很有互联网思维。











